Зажим канатный ОСТ 24.090.51-86
|
|||||
|
|||||
|
|||||
|
|||||
|
|||||
|
|||||
|
|||||
|
|||||
|
|||||
|
|||||
|
|||||
|
|||||
|
|||||
|
|||||
|
|||||
|
|||||
|
|||||
|
|||||
|
|||||
|
- Зажим канатный ОСТ 24.090.51-86 исполнение 1 – со скосом боковых поверхностей
- Зажим канатный ОСТ 24.090.51-86 исполнение 2 – плоская прижимная поверхность
История разработки и назначение
ОСТ 24.090.51-86 был утверждён Министерством тяжелого и транспортного машиностроения СССР в ноябре 1986 года и введён в действие с 1 января 1987 года . Данный отраслевой стандарт разрабатывался для оснащения грузоподъёмных кранов и такелажных приспособлений. Зажимы предназначены для закрепления концов стальных канатов, используемых в качестве грузовых, стреловых, вантовых, несущих, тяговых, а также для оснастки стропов в климатическом исполнении У и ХЛ .
Конструктивные особенности
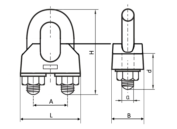
Исполнение 1 данного стандарта отличается наличием скоса боковых поверхностей прижимной колодки . Такая геометрия обеспечивает более равномерное распределение нагрузки на канат и снижает риск его деформации в зоне фиксации. Конструктивно зажим выполнен в форме U-образной скобы с резьбовыми концами и литой прижимной колодки, имеющей характерный скос.
Зажимы изготавливаются из конструкционных сталей марок Ст3, 20, 25, 30, 35 и 09Г2. Для климатического исполнения ХЛ применяется сталь 09Г2С, гарантирующая работоспособность при низких температурах. Все изделия имеют защитное цинковое покрытие, предохраняющее от коррозии при эксплуатации на открытом воздухе .
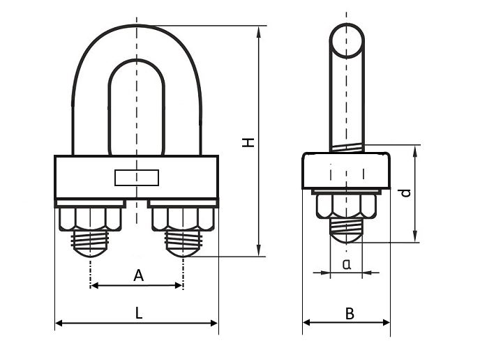
Исполнение 2 данного стандарта отличается плоской геометрией прижимной колодки без скосов. Такая конструкция обеспечивает надёжную фиксацию каната по всей ширине контактной поверхности. Зажим выполнен в форме U-образной скобы с резьбовыми концами и литой прижимной колодки, имеющей плоские боковые поверхности. Изделия изготавливаются из конструкционных сталей марок Ст3, 20, 25, 30, 35. Для климатического исполнения ХЛ применяется сталь 09Г2С, гарантирующая работоспособность при низких температурах. Все зажимы имеют защитное цинковое покрытие, предохраняющее от коррозии при эксплуатации на открытом воздухе.
Технические особенности и монтаж
Зажимы ОСТ 24.090.51-86 исполнение 1 выпускаются для канатов диаметром от 4 до 63 мм. Это многоразовые изделия, используемые для сращивания тросов и формирования петель. Монтаж производится стандартным слесарным инструментом. Количество зажимов в узле зависит от диаметра каната и может составлять от трёх до шести штук, что обеспечивает надёжность соединения при эксплуатации в составе грузоподъёмных механизмов.
Зажимы ОСТ 24.090.51-86 исполнение 2 выпускаются для канатов диаметром от 6 до 63 мм. Количество зажимов в узле зависит от диаметра каната: для диаметров 6-16 мм требуется 3 зажима, 19-25 мм – 4 зажима, 28-40 мм – 5 зажимов, 45-63 мм – 6 зажимов. Монтаж производится стандартным слесарным инструментом. Изделия относятся к категории многоразовых и могут применяться для сращивания тросов и формирования петель.
Размеры
![]() |
![]() |
|
|
|
|
Обозначение
|
Артикул
|
Для каната
|
A
|
B
|
L (исп I)
|
L (исп II)
|
a, диаметр резьбы болта
|
H, длина болта
|
d, длина резьбы
|
Вес, кг
|
|
6-I/II
|
0901040015
|
6 мм
|
13
|
16
|
24
|
29
|
М4
|
30
|
14
|
0.024
|
|
8-I/II
|
0901040016
|
8 мм
|
17
|
20
|
31
|
37
|
М6
|
40
|
18
|
0.06
|
|
10-I/II
|
0901040001
|
10 мм
|
22
|
24
|
40
|
46
|
М8
|
50
|
20
|
0.0113
|
|
13-I/II
|
0901040002
|
13 мм
|
26
|
26
|
44
|
52
|
М8
|
55
|
26
|
0.0138
|
|
16-I/II
|
0901040003
|
16 мм
|
30
|
28
|
51
|
58
|
М10
|
65
|
26
|
0.0217
|
|
19-I/II
|
0901040004
|
19 мм
|
36
|
34
|
60
|
70
|
М12
|
80
|
35
|
0.37
|
|
22-I/II
|
0901040005
|
22 мм
|
40
|
36
|
64
|
76
|
М12
|
86
|
35
|
0.42
|
|
25-I/II
|
0901040006
|
25 мм
|
48
|
40
|
80
|
88
|
М16
|
100
|
40
|
0.752
|
|
28-I/II
|
0901040007
|
28 мм
|
50
|
42
|
82
|
92
|
М16
|
110
|
40
|
0.752
|
|
32-I/II
|
0901040008
|
32 мм
|
58
|
48
|
96
|
106
|
М20
|
125
|
50
|
1.45
|
|
36-I/II
|
0901040009
|
36 мм
|
62
|
50
|
98
|
118
|
М20
|
135
|
50
|
1.624
|
|
40-I/II
|
0901040010
|
40 мм
|
72
|
60
|
114
|
132
|
М24
|
155
|
62
|
2.538
|
|
45-I/II
|
0901040011
|
45 мм
|
74
|
62
|
116
|
136
|
М24
|
156
|
62
|
3.053
|
|
50-I/II
|
0901040012
|
50 мм
|
82
|
64
|
122
|
146
|
М24
|
180
|
62
|
3.328
|
|
56-I/II
|
0901040013
|
56 мм
|
92
|
72
|
150
|
164
|
М30
|
205
|
80
|
5.026
|
|
63-I/II
|
0901040014
|
63 мм
|
100
|
76
|
156
|
176
|
М30
|
220
|
80
|
5.896
|














































































