Зажим канатный 50мм ОСТ 24.090.51-86 исп.2
Зажим канатный ОСТ 24.090.51-86 исполнение 2 – плоская прижимная поверхность
История разработки и назначение
ОСТ 24.090.51-86 был утверждён Министерством тяжелого и транспортного машиностроения СССР в ноябре 1986 года и введён в действие с 1 января 1987 года . Данный отраслевой стандарт разрабатывался для оснащения грузоподъёмных кранов и такелажных приспособлений. Зажимы предназначены для закрепления концов стальных канатов, используемых в качестве грузовых, стреловых, вантовых, несущих, тяговых, а также для оснастки стропов в климатическом исполнении У и ХЛ .
Конструктивные особенности исполнения 2
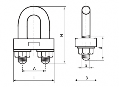
Исполнение 2 данного стандарта отличается плоской геометрией прижимной колодки без скосов . Такая конструкция обеспечивает надёжную фиксацию каната по всей ширине контактной поверхности. Зажим выполнен в форме U-образной скобы с резьбовыми концами и литой прижимной колодки, имеющей плоские боковые поверхности. Изделия изготавливаются из конструкционных сталей марок Ст3, 20, 25, 30, 35. Для климатического исполнения ХЛ применяется сталь 09Г2С, гарантирующая работоспособность при низких температурах . Все зажимы имеют защитное цинковое покрытие, предохраняющее от коррозии при эксплуатации на открытом воздухе.
Технические характеристики и монтаж
Зажимы ОСТ 24.090.51-86 исполнение 2 выпускаются для канатов диаметром от 6 до 63 мм . Количество зажимов в узле зависит от диаметра каната: для диаметров 6-16 мм требуется 3 зажима, 19-25 мм – 4 зажима, 28-40 мм – 5 зажимов, 45-63 мм – 6 зажимов . Монтаж производится стандартным слесарным инструментом. Изделия относятся к категории многоразовых и могут применяться для сращивания тросов и формирования петель
| Стандарт | ОСТ 24.090.51-86 |
| Вес, кг | 2.8 |
| Для троса | 50 мм |
| Диаметр резьбы болта | М24 |
| Длина болта | 180 |
| Длина резьбы | 62 |















































































